Patent of the Month
POTM: U.S. Patent 12,613,072 B1
Apr. 28, 2026
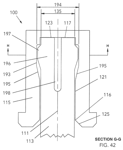
Are you an avid shooter or hunter wanting to protect your hearing without sacrificing performance? Check out this suppressor invented by Daniel Barreto of Airlock Industries and Zane Jesser of Stealth Additive Works. Using state-of-the-art 3D printing, the inventors have designed a new baffle structure that renders traditional “clipped” baffle designs obsolete. Their breakthrough ensures maximum noise reduction, long-term durability, and high performance for the most demanding marksman.
Time from filing to issuance: 202 days
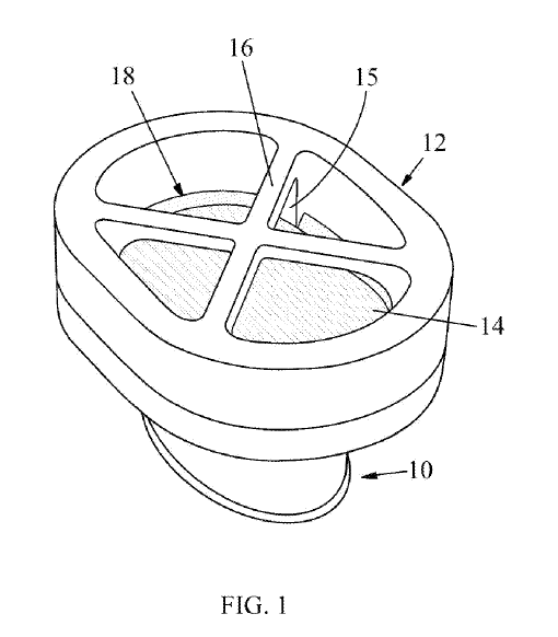
U.S. Patent 12,582,881 B1
Mar. 24, 2026
Is your putting game letting you down? The team at Indesign Products has developed a patented solution to help you find your rhythm on the green. The innovative putter head features a rear-extending platform that lets you customize weight distribution by attaching various “artifacts”. These artifacts balance the putter to your unique stroke, achieving higher precision than off-the-shelf putters. And the best part? The artifacts double as novelty items. You can choose a stick figure, a model of a famous golf course or — for those days when the ball just won’t drop — the middle finger (because we’ve all been there).
Time from filing to issuance: 197 days.
U.S. Patent 12,458,565 B2
Nov. 04, 2025
Think you can’t patent a round peg in a round hole? Eddy A. Williams proved it was possible when his U.S. Patent 12,458,565 for a swivel coupling was granted late last year. Ed’s invention advances the science of “stick slip friction” — the same phenomenon that governs the mechanics of a bow dragged across violin strings — by applying its principles to a motorized massage tool to more accurately simulate the “tapotement” technique of human hands. Time from filing to issuance: 512 days.
U.S. Patent 12,350,551 B2
Jul. 08, 2025
Tired of being a mouth-breather? Darrin Miller and Brad Anderson solved that problem with this hands-free training device. The moving baffle blocks the airway when you inhale by mouth, forcing you to breathe through your nose. Repeated training reteaches you to nose-breathe while you’re awake and can also improve your sleep by preventing you from snoring. Time from filing to issuance: 22 months.
U.S. Patent 12,279,663
Apr. 22, 2025
Ever lose your expensive sunglasses after perching them on the bill of your baseball cap? Inventor Jett Erickson solved that problem with this specialized kit for magnetically attaching eyeglasses to headwear. One magnet rests in a hollow sleeve that slides onto each temple of the sunglasses, and another magnet is pinned to each side of the rim of the baseball cap. Simply slide your sunglasses onto the visor and lock them into place! Total pendency: two years and five days.
U.S. Patent 12,258,768 B2
Mar. 25, 2025
This invention looks like something from a science fiction film, but no — it’s not a flying saucer. Inventors Jake Chapple and Ben Ward of Multiquip Inc. designed this mechanical “spider” — an 8-legged support structure that connects a huge float pan to the rotors of a riding trowel. The spider converts the trowel to a flotation machine that slowly spins the pan around the surface of wet concrete during the final stages of finishing a concrete floor — for warehouses, parking garages, and other large-scale construction projects. Time from filing to issuance: 3 years, 1 month.
U.S. Patent 12,180,053 B1
December 31, 2024
U.S. Patent 12,201,225 B2
January 21, 2025
The Bichambered Convertible Headrest Cover With Padded Insert is the fourth in a family of patents by inventor Allison Bly for a product that provides comfort for weary travelers. The headrest cover can be fitted on the headrest of an airline seat to provide an improved and sterile cushion, and can also be compacted neatly into a free body pillow. This latest version can also be affixed to an extendable luggage handle to provide a makeshift padded chair and pockets for storing valuables when laying over in an airport. Time from filing to issuance: 2 years and 18 days.
U.S. Patent 12,151,205 B2
November 26, 2024
The Hydrocarbon Reclamator was invented by Josh Crowl, an engineering student from the College of Western Idaho who came to us seeking patent advice on his invention for improving the power output from internal combustion engines. His invention was so brilliant that we had to help! Total pendency from filing to issuance was about 28 months. The Patent Office thought it was brilliant, too (and errorless), and approved it for patenting upon initial examination.
COMPLETE LIST OF U.S. PATENTS PROSECUTED BY OUR FIRM
Search our patents using the USPTO search engine using criteria: “burdick.atty. and sean.atty.” https://ppubs.uspto.gov/pubwebapp/
(please allow 30-60 seconds depending on current demand on the Patent and Trademark Office computers for search to complete.)












